Distinctive New Engine Architecture
Just a few days after we reported on Porsche’s patent detailing the application of electrically-assisted twin turbos to combat flow stall, the German Patent and Trade Mark Office (DPMA) has disclosed another Porsche patent, this time describing a unique W18 motor. Filed in April of 2024 and only just disclosed last week, this patent depicts a true W layout with three banks of cylinders each with their own heads. This layout is markedly different from the VW Group’s previous W8, W12, and W16 engines which are essentially two narrow angle V engines (VR4, VR6, or VR8) that share a single head across both banks, joined together for a total of four cylinder banks with only two heads.

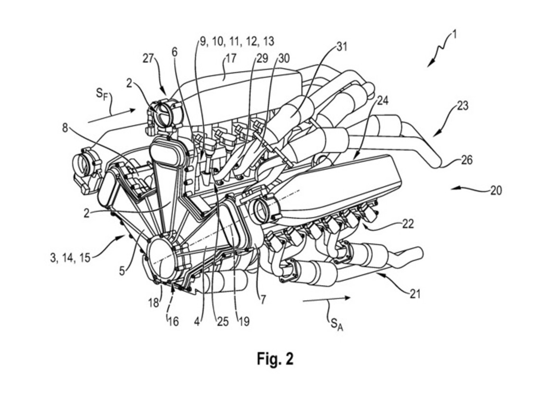
A Closer Look
The patent details an engine comprised of three banks of 6 cylinders converging on a single crankshaft, with a 60-degree angle between each of the banks. While the attached drawings depict an 18-cylinder engine in this layout, Porsche has indicated that the design can be scaled down and adapted to have 3, 4, or 5 cylinders per bank, resulting in a 9-, 12- or 15-cylinder engine with a relatively short block. Additionally, while the 60-degree angle between banks has been chosen to offer optimal combustion and overall balance, according to Porsche’s engineers, this too can be varied to suit the application and packaging limitations.

Another feature that we could glean from the patent documentation is the attention paid to airflow management. Intake plenums are located above the cylinder banks, arranged such that air can be drawn directly down into the cylinders through extremely short and and straight intake tracts. Meanwhile, exhaust manifolds are positioned to keep the hot gases isolated from the intake plumbing, so that the engine can inhale cooler air, which is denser, resulting in a higher power output.
While not included in the diagrams, the patent also hints at potential forced-induction options, with provisions that could support a turbocharger for each bank. Such a triple-turbo setup could offer massive peak power and, paired with Porsche’s T-Hybrid electric assisted turbocharger tech, deliver near instant boost response for a phenomenal driving experience.

Will Porsche Build It?
Porsche’s patent for a three-bank W engine showcases the brand’s engineering ambition, combining compact packaging with advanced airflow management and potential turbocharging for each cylinder bank. While it is unclear if this motor will ever make it to production, it is a strong statement of the brand’s commitment to progressing combustion technology with continuous innovation at a time when so many manufacturers are focusing on EVs