Toyota Improving on Hybrids
Toyota’s hybrid push in the US is working. Nearly every model now comes with a hybrid option, keeping Toyota’s sales strong in 2024. There’s no sign that the result will change in 2025.
Now that hybrids are the default, buyers expect more. Those looking at higher-end Toyotas or Lexus models want a car that feels right on the road, not just one that saves fuel. Balance, stability, and driving confidence are just as important. Toyota seems to get that.
That thinking shows up in a new patent Toyota filed in June 2025, published by the United States Patent and Trademark Office (USPTO) on January 1, 2026. The patent – labeled only as “Hybrid Electric Vehicle” – details a new hybrid layout aimed at better handling, crash safety, and acceleration, especially for rear-wheel-drive cars. If you want to dig deeper, check out patent no. 20260001393.
USPTO
A Smarter Layout, Not a New Hybrid System
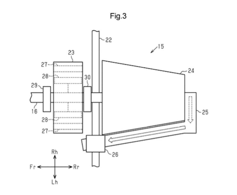
Instead of new motors or batteries, Toyota’s patent is all about how the hybrid parts are laid out. The engine stays up front. A prop shaft runs down the middle, linking to a rear transaxle that packs in the electric motor, gears, and differential.
The big change is at the back. Instead of putting both the fuel tank and main battery at the rear, Toyota moves the fuel tank closer to the car’s center, ahead of the battery. The battery, which always weighs the same, sits right above the rear transaxle.
This setup brings real-world benefits, according to Toyota. As you burn fuel, the weight change happens closer to the car’s center, so handling stays more stable. In a rear-end hit, the battery takes the brunt before the fuel tank, protecting the fuel system. With more weight over the rear axle, you also get better traction when accelerating. Other parts, such as control units and backup batteries, are also installed to help balance the car and protect key systems.
USPTO
Where This Could Show Up Next
The patent itself does not point to a specific production vehicle, but it offers some useful clues. Toyota already has a high-performance twin-turbo V8 hybrid in the GR GT flagship, though that model sits firmly at the top of the range.
This new layout looks much more flexible. It could work for upcoming rear-drive Toyota sedans or Lexus models where comfort and handling matter as much as efficiency. It shows Toyota is thinking about how hybrids should feel.
Of course, like most patents, there’s no promise this will hit showrooms. Car makers often patent ideas just to protect them or test out solutions without committing to production (hence, costs). Then again, this fits Toyota’s previous claims that hybrids will become more exciting in the future. And of course, the company’s usual kaizen approach: keep improving what already works.
USPTO
Â